前 言
本标准等同采用国际无线电干扰特别委员会出版物CISPR 12:1997(第四版)《车辆、机动船和由火花点火发动机驱动的装置的无线电骚扰特性的限值和测量方法》。
本标准适用频率范围为30MHz~1000MHz。
本标准取代GB 14023-1992《车辆、机动船和由火花点火发动机驱动的装置的无线电干扰特性的测量方法及允许值》。
本标准对GB 14023-1992作出的重大技术变动情况如下:
1. GB 14023-1992未将车辆和装置列入定义,而仅举例说明车辆和装置包括的一些产品(但说明不限于举例的产品);本标准给出车辆、装置的定义并列举它们包括的产品(亦说明不限于举例的产品)。
2. GB 14023-1992未明确规定其适用环境,而本标准明确规定了其适用环境为居住环境。
3. 本标准对术语作了全新的定义,仅保留GB 14023-1992中的“点火噪声抑制器”和“电阻性分电器电刷”两条术语。
4. 本标准增加了30MHz~1000MHz频率范围内的窄带骚扰限值 ,并说明150 kHz~30 MHz频段的限值尚在考虑。
5. 本标准删去了GB 14023-1992中引用VDE 0879的关键内容“干扰抑制器的检验”和附录B“插入损耗值”。
6. 本标准与GB 14023-1992在附录方面的重大差异如下:
1)标准的附录A(测量结果的统计分析)新增了“子频段范例”;
2)新增附录“鞭天线校准——等效电容替代法”(作为标准的附录B)和“天线和馈线的维护与校准”(作为提示的附录C)以及“确定高压点火系统的点火噪声抑制器衰减特性的测量方法”(作为提示的附录F);
3)删去GB 14023-1992附录D(参考件)“干扰抑制设备的指南”和附录E(参考件)“车辆辐射干扰的路边测量”。
本标准由全国无线电干扰标准化技术委员会提出并归口。
本标准起草单位:上海电器科学研究所、中国汽车技术研究中心。
本标准参加起草单位:天津摩托车技术中心、上海汽车工业技术中心、上海通用汽车有限公司。
本标准主要起草人:杨自佑、徐立、许毅、隋修武、缪文泉、章一舫。
IEC 前 言
1)鉴于CISPR的各个国家委员会和其他成员组织在一些技术问题上都具有某种特殊的利益,因此,由分会拟定的关于这些技术问题的正式决议或协议都尽可能地表达了国际协商的一致意见。
2)这些决议或协议以推荐出版物的形式供国际上使用,并在这个意义上,为CISPR的各个国家委员会和其他成员组织所接受。
3)为了促进国际上的统一,CISPR希望所有的国家委员会在本国许可的情况下,均应采用CISPR推荐出版物作为它们的国家标准。CISPR推荐出版物和相应的各国标准之间的任何分歧,均应尽可能地在各国标准中说明清楚。
出版物CISPR 12由CISPR D分会(关于机动车辆和内燃发动机的干扰)起草。
本出版物第四版取代了1990年的第三版。本出版物形成了一个技术修订版。
本出版物内容以下列文件为基础:
|
FDIS |
Report on voting |
|
CISPR/D/143/FDIS |
CISPR/D/159/RVD |
有关表决批准本出版物的全部资料均可从上表所列的投票报告中获得。
本出版物的主要内容是依据下述CISPR推荐出版物18/5号提出的:
CISPR推荐出版物18/5号——车辆、机动船和由火花点火发动机驱动的装置的无线电骚扰特性的限值和测量方法
CISPR考虑到:
a)需要规定车辆、机动船和由火花点火发动机驱动的装置产生的无线电骚扰的限值和测量方法;
b)要将关于这个课题的最新资讯在CISPR 12中陈述;
c)CISPR 12还应包含抑制无线电骚扰的相关指导材料。
为此建议:
1)CISPR 12的本版本用于规定车辆、机动船和由火花点火发动机驱动的装置的无线电骚扰特性的限值和测量方法;
2)推荐出版物18/5号作为CISPR 12第四版的第4章、第5章、第6章。
(该推荐出版物替代18/4号推荐出版物)
本出版物包含下列CISPR推荐出版物和报告的内容:
|
CISPR 12涉及到的内容 |
CISPR推荐出版物和报告 |
|
第4章、第5章、第6章 |
推荐出版物18/5号 |
1 适用范围
本标准规定的限值将为居住环境中使用的广播接收机在30 MHz~1000 MHz频率范围内提供保护。
本标准对距离车辆或装置10m内的居住环境中使用的新型无线电发射和接收机不提供足够的保护。

注1:经验表明:符合本标准可以为用于居住环境中的其他发射类型(包括特定频率范围以外的无线电发射)的接收机提供满意的保护。
本标准适用于可能对无线电接收造成干扰的宽带和窄带电磁能量发射源。
这类发射源为:
a)内燃发动机、电驱动装置或两者共同驱动的车辆(见3.1);
b)内燃发动机、电驱动装置或两者共同驱动的机动船;
注2:对于本标准,机动船被认为是车辆的一个分类,除非有特别的规定。
c)配备有火花点火内燃发动机的装置(见3.2)。
本标准包括宽带发射和窄带发射的限值和测量方法。
本标准不适用于飞行器,牵引系统(火车、有轨电车和无轨电车)或未最终完成的车辆。
注3:在车辆上使用的接收机的保护见CISPR 25。
2 引用标准
下列标准所包含的条文,通过在本标准中引用而构成为本标准的条文。本标准出版时,所示版本均为有效。所有标准都会被修订。采用本标准的各方应探讨使用下列标准最新版本的可能性。
GB/T 4365-1995 电磁兼容术语(idt IEC 60050(161):1990)
GB/T 6113.1-1995 无线电骚扰和抗扰度测量设备规范
CISPR 25:1995 保护车载接收机的无线电骚扰特性的限值和测量方法
3 定义
除采用GB/T 4365-1995的定义外,本标准还采用下列专门的定义:
3.1 车辆 vehicle
包括(但不限于)轿车、卡车、客车、摩托车、轻便摩托车(含机动自行车)、农用拖拉机、物资装卸设备和雪上机动车等自行驱动的机械。
3.2 装置 device
包括(但不限于)链锯、灌溉泵、空气压缩机、割草机以及固定式或者移动式混凝土搅拌机等非自行驱动的机械。
3.3 脉冲点火噪声 impulsive ignition noise
由车辆或装置内的点火系统产生的不希望有脉冲性质的电磁能辐射。
3.4 点火噪声抑制器 ignition noise suppressor
高压点火线路中用以限制脉冲点火噪声辐射的部分。
3.5 电阻性分电器电刷 resistive distributor brush
装在点火分电器盖内的电阻性电刷。
3.6 子频段 frequency sub-band
为统计评定由扫频测量得到的试验数据,对30 MHz~1000 MHz频率范围规定的一段频谱。
3.7 曲型频率 representative frequency
一个子频段中用于与限值作比较的指定频率(仅用于6.4及附录A)。
3.8 特性电平 characteristic level
在每个子频段中发现的最高发射电平。特性电平是在天线的极化方向上以及在车辆或装置的所有规定的测量方位所获得的最大测量值(已知的环境信号不作为特性电平的一部分)。
3.9 跟踪信号发生器 tracking generator
频率锁定在测量仪器接收频率上的试验信号(连续波)发生器。
3.10 射频(RF)骚扰功率 RF disturbance power
用吸收钳的电流互感器和射频测量仪所测得的射频功率。如同测量射频骚扰电压一样,它也用峰值或准峰值方式进行测量。
3.11 火花放电 spark discharge
储存在点火线圈中的能量以电弧形式在测量用火花塞电极间进行释放。
3.12 电阻性高压点火电缆 resistive high-tension (HT) ignition cable
具有高尼导线的点火电缆。
3.13 居住环境 residential environment
骚扰源与无线电接收点之间具有10 m保护距离并使用公共低压电网系统或以电池作为电源的环境场所。例如,公寓、私人住宅、娱乐场所、剧场、学校、街道等。
4 骚扰限值
4.1 适用限值电平的确定
如果不知道骚扰类型,则可以用图1所示的流程图来确定应采用哪种限值。

4.2 宽带发射
宽带发射的限值见图2。测量时,只需要选择图2中的一种带宽。为了更准确地确定限值,应使用图2给出的限值计算公式。若测量距离为3 m,则限值应增加10dB1)。
4.3 窄带发射
窄带发射的限值见图3。它适用于峰值或准峰值检波器测量,满足CISPR 25:1995第2章规定的窄带发射要求的车辆,被认为也满足本条款所规定的窄带限值要求,不必再进行测量。若测量距离为3 m,则限值应增加10dB2)。
1) 采用不同的检波器模式和测量距离时,若测量结果发生矛盾,本标准规定采用准峰值检波器及10 m测量距离为准。
2) 采用不同的测量距离时,若测量结果发生矛盾,本标准规定采用10m测量距离为准。
骚扰限值L(dB(μV/m)) (在频率为f MHz时)

5 测量方法
注:1 GHz~18 GHz频段的测量方法尚在考虑。
5.1 测量设备的要求
5.1.1 测量仪器
5.1.1.1 仪器类型
测量仪器应符合GB/T 6113.1的要求,手动或自动频率扫描方式均可使用。并应专门考虑过载、线性度、选择性和对脉冲的正常响应等特性。
注:频谱分析仪和扫频接收机特别适用于骚扰测量。对于相同的带宽,频谱分析仪和扫频接收机的峰值检波器方式所显示的峰值均大于准峰值。由于峰值检波比准峰值检波扫描速度快,所以发射测量采用峰值检波更方便。
在采用准峰值限值时,为了提高效率也可使用峰值检波器测量。任何测量的峰值等于或超过相应单个采样型试验限值时,则使用准峰值检波器重新测量。
5.1.1.2 最小扫描时间
应按照所用的CISPR频段和检波方式,来调整频谱分析仪或扫频接收机的扫描速率。最小扫描时间/频率(即最快的扫描速率)列于表1。
表1 最小扫描时间
|
频段 |
频率范围 |
峰值检波器 |
准峰值检波器 |
|
A |
9kHz~150kHz |
不采用 |
不采用 |
|
B |
0.15MHz~30MHz |
100ms/MHz |
200s/MHz |
|
C,D |
30MHz~1000MHz |
1ms/MHz |
20s/MHz |
|
频段定义根据GB/T 6113.1。本标准不使用A频段和B频段。 | |||
|
注:某些信号(例如低重复率的信号)可能需要较慢的扫描速率或多次扫描以确保测出最大幅值。 | |||
5.1.1.3 测量仪器带宽
应选择测量仪器的带宽,使仪器的本底噪声值至少比限值低6dB。推荐的仪器带宽见表2。
注:当测量仪器的带宽大于窄带信号带宽时,所测得的信号幅值将不会受影响。而当测量仪器带宽减小时,宽带脉冲噪声的指示值将减小。
表2 推荐的测量仪器带宽(6dB)
|
频率范围 |
宽带 |
窄带 | ||
|
峰值 |
准峰值 |
峰值 |
平均值 | |
|
0.15~30 |
9 kHz |
9 kHz |
9 kHz |
9 kHz |
|
30~1000 |
120 kHz |
120 kHz |
120 kHz |
120 kHz |
若用频谱分析仪进行峰值测量,其视频带宽至少为分辨率带宽的3倍。
5.1.2 天线类型
5.1.2.1 基准天线
5.1.2.1.1 150 kHz~30 MHz频率范围
基准天线为GB/T 6113.1所述的1m长垂直极化鞭天线,鞭天线的端电压与接地板(或地网)有关,接地板(或地网)的尺寸和形状要与天线设计相称,其尺寸和形状则由天线制造商来确定。
鞭天线应通过一个有源或无源耦合单元(或耦合器)与测量仪器连接。耦合单元提供高阻抗到低阻抗的阻抗变换,它可安装在接地板(或地网)之下(优先)或之上、以便用50Ω同轴馈线将天线输出传送至测量仪器输入端。
5.1.2.1.2 30 MHz~1000 MHz频率范围
基准天线为平衡偶极子天线(见GB/T 6113.1),采用自由空间天线系数。频率等于或高于80 MHz时,天线长度应为谐振长度;频率低于80 MHz时,天线长度应等于80 MHz的谐振长度,并使用一个适当的变换装置,使天线与馈线匹配。还应配备一个平衡-不平衡变换器与测量仪器输入端连接。
5.1.2.2 宽带天线(30 MHz~1000 MHz)
只要能归一化到基准天线,任何线性极化的接收天线均可采用。
使用扫描测量仪自动接收系统进行测量时,须采用宽带天线。如果在测量场地的实际测试环境中宽带天线的输出能归一化到基准天线的输出,则这种宽带天线可用于辐射电平的测量。
注:当采用宽带天线时,应满足GB/T 6113.1对复杂天线的要求。考虑的因素包括:
(1)该天线的有效口径,包括它的极化响应(水平和垂直平面);
(2)随频率移动的相位中心的影响;
(3)地面反射特性的影响(包括可能在特殊频率点,如大约500 MHz的垂直极化和900 MHz的
水平极化产生的多路径电磁波反射)。
5.1.3 校准
5.1.3.1 150 kHz~30 MHz频率范围
鞭天线校准见附录B
5.1.3.2 30 MHz~1000 MHz频率范围
替代天线校准见附录C。
5.1.4 准确度
在不包括辐射源的情况下,由天线、馈线和测量仪器组成的测量系统,在30 MHz~1000 MHz频率范围内,其测量电场强度的准确度为±3dB(见GB/T 6113.1)。频率准确度应优于±1%。
注:为确保本标准规定的测量处在指定的容许偏差范围内,应考虑测量设备的所有有关特性 (例如频率和幅值的稳定性,镜象抑制,交叉调制,过载电平,选择性,时间常数,信噪比),以及那些对天线和馈线有影响的特性。
5.1.5 重复性
应定期检查测量系统的变化情况以保证测量的重复性,并要以较短的周期检查测量仪器的输入/输出特性。
注:在30 MHz~1000 MHz的范围内,有±3dB的测量偏差是合理的(见附录C的C12),这些偏差是由于地面的电导率的变化和影响重复性的其他因素所产生的。
5.2 测量场地的要求
5.2.1 开阔试验场(OATS)的要求
5.2.1.1 试验场应是一个没有电磁波反射物,以车辆或装置与天线之间的中点为圆心,最小半径为30m的圆形平面空旷场地。测量设备的特殊安排规定在5.2.1.2中,见图4和图7。
注:在5.2.1.1和图4中规定的场地要求是将GB/T 6113.1应用于大型汽车的情况。
在长度和宽宽上小于2m的车辆和装置,可以在GB/T 6113.1的图16或图17所示尺寸的开阔试验场(OATS)上测量。
5.2.1.2 测量设备、测量棚或装有测量设备的车辆可置于试验场内,但只能处在图4用交叉阴影线标示的允许区域内。
5.2.1.3 环境要求
为了保证没有足以影响测量值的外界噪声或信号,要在测试前后,车辆或装置没有运转的状态下测量环境噪声。这两次测量到的环境噪声电平(已知的无线电发射除外)应比第4章规定的骚扰限值至少低6dB。
注:更具体的说明见GB/T 6113.1。
5.2.2 装有吸波材料的屏蔽室(ALSE)的要求

5.2.2.1 相关性
如果在电波暗室1)中的测量结果与5.2.1要求的开阔试验场(OATS)所测量的结果具有相关性,则可以使用电波暗室。
注:这样的试验室,因有稳定的电性能,可全天候试验、有环境可控和测量重复性好的优点。
5.2.2.2 环境要求
环境噪声电平应比第4章规定的骚扰限值至少低6dB,环境噪声电平必须定期验证或者在试验结果显示出有不合格的可能性时进行验证。
5.2.3 天线位置的要求
在30MHz~1000MHz频率范围内的每一个测量频率点上,应分别进行水平极化和垂直极化的测量(见图5、图6)。在150kHz~30MHz频率范围内的每一个测量频率点上,则仅进行垂直极化的测量。
应避免天线单元与天线支架或升降系统之间的电耦合。
按天线和馈线的几何形状关系来分析,亦要求馈线与天线单元之间没有电耦合。
注:对偶极子天线高度为3m时,馈线下降至地平面之前,馈线形状应水平地向后延伸6m(或测量距离为3m时向后延伸1.8m),其他的馈线形状也可采用,只要它们可表明不影响测量结果或者这些影响可以包括在设备的校准中。
5.2.3.1 高度
在30MHz~1000MHz频率范围内,测量距离为10m时,天线中心离地面或地板(或水面)的高度为3.00m±0.05m;测量距离为3m时,高度为1.80m±0.05m。
在150kHz~30MHz频率范围内,天线的平衡网络应尽可能地接近地面或地板。用最大长宽比为7:1的导线搭接到地面或地板上。
1)此处所指的电波暗室即为装有吸波材料的屏蔽室。
5.2.3.2 距离
天线到车辆或装置边缘的金属部分的水平距离优先选用10.0m±0.2m。作为一种替代,只要满足5.2.3.4的要求,也可选用3.00m±0.05m距离进行测量。
5.2.3.3 辅助(复合)天线
5.2.3.3.1 150 kHz~30 MHz频率范围
在相同的极化方向,在车辆的每一侧使用鞭天线。


注
1 水平距离是从偶极予天线中心到船用装置(或分别试验的发动机)最近的外缘。
2 10.0 m ± 0.2 m 可以改为 3.00 m ± 0.05 m,要按照5.2.3.2和5.2.3.4的规定,采用修改的限值和天线位置。
图7 机动船测量场地
5.2.3.3.2 30 MHz~1000 MHz频率范围
允许使用辅助天线,但如果二根天线相互面对,则一根应处于垂直极化而另一根应处于水平极化。
以车辆或装置与辅助天线之间的中点为圆心的空旷场地也应符合5.2.1.1所述的试验场要求。
5.2.3.4 复合天线位置(仅适用于3m测量距离)
在3m距离时,如果车辆或装置的长度大于3dB天线波束宽度值,就需要确定复合天线位置。
对于水平极化和垂直极化测量应采用同样的位置。
注:1 曲型对数周期天线的3dB天线波束宽度近似为60°。在3m距离时,这种天线将产生大约3.5m的照射宽度,即天线中心线两侧各1.75m,因此,7m长车辆的每一侧要求三个天线位置,以便定量确定该车辆的辐射特性。
2 对于有些车辆的发动机尺寸和位置,正在考虑简化测量方法以减少天线的位置数。
5.3 试验条件
5.3.1 气候条件
5.3.1.1 干燥条件下的测量
在车辆或装置干燥时或雨停10 min之后进行的测量,应采用图2或图3所示的限值。
外置的发动机或装置,除通常与水接触的那些表面以外,其他表面都应是干燥的。
5.3.1.2 潮湿条件下的测量
如果有些情况限定在下雨或雨停后10min之内进行测量,若所测得的电平低于图2或图3所示限值10dB以下,则认为车辆或船是符合本标准的要求。
如果对符合性持有任何异议,应以干燥条件下进行的测量为准。
在潮湿条件下测量合格,应保持有效直到对它可能产生异议并在干燥条件下的测量证明不合格为止。对于这类情况,在认为合格的期间售出的车辆、装置或机动船,不需要作改进。
在潮湿条件下的测量符合标准时,还应特别注意批量生产的监督。
注:露水或轻度受潮可能严重影响具有塑料外壳的装置测得的结果。
5.3.2 车辆
应在车辆左右两侧进行测量(见图5和图6)。
在进行测量时,所有和动力系统一起自动接通的电气设备,都应尽可能处在典型的正常工作状态,发动机应处于正常工作温度。
同一车辆(混合车)中的不同动力系统,应分别进行测试。
5.3.2.1 在每次测量时,装有内燃发动机的车辆的发动机应按表3规定运转:
表3 内燃发动机运转速度
|
缸 数 |
测 量 方 法 | |
|
准 峰 值 |
峰 值 | |
|
发 动 机 转 速 | ||
|
单 缸 |
2500r/min |
大于怠速 |
|
多 缸 |
1500r/min |
大于怠速 |
5.3.2.2 对于装有驱动电机的车辆,每次测量时按下述规定运转:
(1)车辆在空载的转鼓试验台或车轴上,以20 km/h的恒速驱动。如果车速低于20 km/h,以最大车速驱动。
注:再生制动尚在考虑。
(2)仅用峰值检波器进行测量。
5.3.2.3 如果可能,辅助发动机应按预定的正常方式运转并应与主发动机分别进行测量。
对具有几个发动机的车辆要进行多次测量,测量中要将几个发动机顺序地放置在天线正前方,具体要视辅助发动机的部位而定。
5.3.3 装置
受试装置应在正常工作位置和高度以怠速空载的状态下测量其最大骚扰辐射值。在可行的场合下,应在三个正交平面测量。
根据情况,也应考虑下述条件:
(1)若装置的工作位置和高度可变动,受试装置火花塞的位置应高出地面1.0m±0.2m。
(2)测量时,操作人员不应在测量场地内。必要时可用非金属装置在尽可能远的地方操作,使受试装置保持正常的位置和规定的发动机转速。
5.3.4 机动船
舷内机动船应在咸水或淡水中测量,测量场地布置见图7。发动机或驱动电机按5.3.2规定的条件运转。
试验场应是一个没有电磁波反射物,以受试发动机与天线之间的中点为圆心,最小半径为30 m的圆形平面空旷水面,测量设备的特殊安排规定在5.3.4.1和5.3.4.2中。对天线高度的规定5.2.3.1。
当分别测量时,舷内、船尾驱动装置和舷外发动机或驱动电机应安装在非金属船或非金属试验架上,并按对舷内机动船规定的类似方法进行测量。
5.3.4.1 地面上的测量设备
测量设备安置在地面上,装有测量设备的测量棚或车辆只可以处在图7所示用交叉阴影线标示的允许区域内。无测量设备的测量棚或车辆,则可放在图7中用阴影线或交叉阴影线标示的试验场区域内。
5.3.4.2 水面上的测量设备
测量设备应安装在试验场内的非金属船或非金属试验架上,但仅限于放置在图7中用阴线或交叉阴影线标示的允许区域内。
5.4 测量频率
本标准规定的限值适用于宽带发射和窄带发射,应在30 MHz~1000 MHz整个频率范围内评定骚扰特性。
5.5 数据采集
5.5.1 应在整个频率范围内进行扫描测量。点频测量仅适用于6.4所述的情况。
5.5.2 为了统计评定,宽带准峰值的测量结果应表示为dB(μV/m)
5.5.3 根据图2所示的带宽之一,将宽带峰值测量的结果表示为dB(μV/m/带宽)。
对于用峰值检波器进行宽带测量时,图2所示限值加上修正系数20 lg(带宽(kHz)/120 kHz)或20 lg(带宽(MHz)/1MHz)就可作为非120 kHz或非1 MHz的带宽时的限值。
5.5.4 对于窄带测量的测量结果应表示为dB(μV/m)。
6 评定方法
6.1 评定总则
6.1.1 单个车辆或装置的评定,采用扫描测量的全部数据。
6.1.2 多个车辆或装置的统计评定,要采用附录A所述的特性电平与对应的子频段内的典型频率点的限值进行比较。
6.2 型式试验
6.2.1 应按第4章的要求进行下述检验。
6.2.1.1 单个样品
对新产品系列的样车或装置进行测量。测量结果应比第4章规定的限值至少低2dB。
6.2.1.2多个样品(可选项)1)
应随机抽取5个或5个以上的样品进行测量,其结果要与6.2.1.1的测量结果相结合(见6.1.2)。在每一个子频段的测量数据都要按照附录A规定的方法进行统计评定,其结果应低于在该子频段典型频率上的限值。
6.2.2 车辆或装置结构上的某些差异对点火噪声发射没有显著的影响,附录D给出了道路车辆结构差异的例子。
6.3 成批生产的监督检验
6.3.1 单个样品
单个车辆或装置的测量结果比第4章规定的限值最多高2 dB。
6.3.2 多个样品(可选项)2)
应随机抽取5个或5个以上的样品进行测量,其测量结果要与6.3.1的测量结果相结合,在每一个子频段的测量数据都要按照附录A规定的方法进行统计评定,其结果都应比该子频段典型频率上的限值最多高2dB。
6.4 研制试验用的快速样机检验(仅适用宽带发射)
可以任选一种测量方法来确定车辆或装置的发射电平,从而确定该骚扰电平是否有可能满足第4章规定的限值。建议在典型频率点上进行专门的测量,见附录A。
1)在不满足6.2.1.1条时可选此项。
2)在不满足6.3.1条时可选此项。
附 录 A
(标准的附录)
测量结果的统计分析1)
A1 车辆或装置的数量
为了以80%的置信度保证大量生产的车辆或装置中,有80%的产品符合规定的限值L,应满足下列条件:
X + kSn < L …………………………(A1)
式中:X—n个车辆或装置上测量结果的算术平均值;
…………………………(A2)
式中:Xi—单个车辆或装置的测量结果;
k—随n而定的统计系数,由表A1给定;
表A1 统计系数
|
n |
6 |
7 |
8 |
9 |
10 |
11 |
12 |
|
k |
1.42 |
1.35 |
1.30 |
1.27 |
1.24 |
1.21 |
1.20 |
Sn—n个车辆或装置测量结果的标准偏差;
…………………………(A3)
式中:L—规定的骚扰限值。
Sn,Xi,X,L都以相同的对数单位表示(例如:dB(μV/m)或dB(μV)等)。
如果第一次的n个车辆或装置样品不能满足规定值,则应对第二次的N个车辆或装置样品进行测量,并将所有结果作为由n+N个样品产生的结果加以评定。
A2 用于分析的子频段
为便于分析,0.15 MHz~30 MHz频率范围至少分成22个子频段;30 MHz~1000 MHz频率范围至少分成14个子频段。每个倍频程(2:1的频率比率)近似具有3个子频段。对于那些限值不为常数(即倾斜的)的区间,每个子频段的最高频率与最低频率的比率应不大于1.34。子频段的范例见表A2。
A3数据采集
在每个子频段内进行扫描测量,以确定其最大发射电平(即特性电平),按第6章的方法将每个子频段的特性电平与该子频段内典型频率点的限值进行比较作出评定。
表A2 子频段的范例
(本标准不采用低于 30 MHz 的子频段)
| ||||||||||||
_______________
1) 本附录以 CISPR 推荐标准46/1(部分)为根据。
附 录 B
(标准的附录)
鞭天线校准——等效电容替代法1)
B1 校准方法
等效电容替代法采用模拟天线代替实际的鞭天线辐射单元。模拟天线的主要元件是一个电容器,其电容量等于鞭天线或单极子天线的自身电容。这个模拟天线由信号源馈给信号,从耦合器或天线的底部单元输出,采用如图B1所示的试验布置进行测量,天线系数(AF)由公式(B1)给出,其单位为dB(1/m)。
AF = VD - VL - Ch …………………………(B1)
式中:VD—测得的信号发生器输出电平,单位为dB(μV);
VL—测得的耦合器输出电平,单位为dB(μV);
Ch—高度修正系数(用于有效高度),单位为dB(m)。
对于通常用于EMC测量的1m鞭天线,有效高度(he)为0.5 m时,高度修正系数(Ch)为-6 dB(m),自身电容(Ca)为10pF。
注:有效高度,高度修正系数和特殊尺寸的鞭天线自身电容的计算见B3。
应采用下列两种方法中的一种来校准:网络分析仪法或信号发生器和无线电噪声计法。这两种方法都采用同样的模拟天线。制作模拟天线的指南见B2。应在足够的频率点上进行测量,以便获取天线工作频率范围内或9 kHz~30 MHz频率范围内的一条平滑的天线系数-频率曲线,两者取较小者。
B1.1 网络分析仪法
a)用测量中使用的电缆来校准网络分析仪;
b)按图B1a)所示设置被校准的天线和测量设备;
c)试验通道的信号电平VD(dB(μV))减去基准通道的信号电平VL(dB(μV)),再减去Ch(对于1m的鞭天线为-6dB),即可得到校准系数,单位为dB(1/m)。
注:因为网络分析仪通道阻抗非常接近50 Ω,而网络分析仪在校准中会修正任何误差。因此,用网络分析仪不需要衰减器。如果需要,也可以使用衰减器,但这将使网络分析仪的校准变复杂。
B1.2 无线电噪声计和信号发生器法
a)按图B1b)所示,设置被校准的天线和测量设备;
b)用如图所示所连接的设备和端接在T型连接器(A)上的50Ω终端负载,在射频端口(B)测量被接收的信号电压VL,单位为dB(μV);
c)保持信号发生器射频输出不变,将50Ω终端负载转接到射频端口(B)上,再将接收机输入电缆转接到T型连接器(A)上,测量驱动信号电压VD,单位为dB(μV);
d)VD减去VL,再减去Ch(对于1m的鞭天线为-6dB),即得到天线系数,单位为dB(1/m)。
50Ω终端负载应具有很小的驻波比(SWR)(小于1.05:1)。无线电噪声计应校准并具有小的驻波比(小于2)。信号发生器的输出具有稳定的频率和幅值。
注:信号发生器不需要校准,因为它被用作传递标准。
B2 模拟天线的一些考虑
注:用作模拟天线的电容器应安装在小金属盒内或金属架上。引线应尽可能短,但不长于8mm,并保持与金属盒或金属架的表面接近。建议的间距为5 mm~10 mm。
天线系数校准测量装置中使用的T型连接器可以装在模拟天线盒内,提供与信号发生器匹配的电阻衰减器也可以装在模拟天线盒内。
B3 鞭天线(单极子天线)特性公式
下列公式用于确定特殊尺寸的鞭天线或单极子天线的有效高度、自身电容和高度修正系数,它们仅适用于长度小于λ/4的鞭天线。
…………………………(B2)
……………………(B3)
Ch = 20lghe ………………………(B4)
式中:he—天线的有效高度,m;
h—鞭天线辐射单元的实际高度,m;
λ—波长,m;
Ca—鞭天线的自身电容,pF;
a—鞭天线辐射单元的平均半径,m;
Ch—高度修正系数,dB(m)。

__________
本附录以IEEE 291:1991《30 Hz~30 GHz频率范围内测量正弦连续波电磁场场强的IEEE校准方法》为根据。
附 录 C
(提示的附录)
天线和馈线的维护与校准1)
本附录包含一个符合5.1.2所述的天线和馈线的校准方法的示例,它可作为推荐的校准方法。恰当的天线和馈线校准方法对于说明馈线损耗和失配误差以及表征宽带天线(如果使用)的特性是非常重要的。因为馈线用的同轴电缆容易受到很多的磨损和可能被误用,当需要替换电缆时,应使用推荐的校准方法。
本附录也具有指导性,旨在帮助那些可能不熟悉天线和馈线校准方法的人员。其他方法,例如跟踪发生器法、网络分析仪法或者窄带信号源法,同样可满足要求,本附录没有涉及的内容并非排斥对它们的应用。
C1 维护
天线和电缆的分别校准或组合校准由用户选择。然而,推荐分别校准,因为:
(1)提供天线时经常不带电缆;
(2)任何电缆可与任何天线一起使用,而不需要组合起来重新校准;
(3)电缆比天线容易重新校准,几乎任何测试设备均可以重新校准它们。而有些实验室可能不易将复杂天线与其连带的馈线一起校准。
(4)可变更或替换天线或电缆,而不需要重新校准另一个。
C1.1 定期校验
C1.1.1 电缆
应每月作校验,临时校验则取决于电缆是否被频繁地操作或弯曲,或者它们是否长期地暴露在太阳下或风雨中。
注:如果温度和湿度不可控制,即使在导管中的电缆仍可能发生问题。
C1.1.2 天线
因为天线比电线磨损机会少,可不常校验,每年可能仅需一次或两次。
C1.1.3 物理检查
C1.1.3.1 电缆
一系列的弯折(很尖锐的弯折),扁平点,磨损,拉长点,损坏的连接器/编织带,内绝缘层的污染,或者电缆的老化,均需要替换电缆并重新校准。
C1.1.3.2 天线
损坏的部件或其他明显的机械问题,均需被纠正或部分替换,并且应重新校准。
C1.1.4 电气检查
应定期校验天线和电缆是否有较高的损耗或其他问题。如果某一特性(例如损耗)已经变化,则天线、电缆或其组合,均需重新校准。对于一些严重的特性变化,它们就可能需要更换并重新校准。
C1.2 重新校准
替换馈线电缆或天线时,要应用下述要求;
C1.2.1 如果天线校准包括损耗及与天线配合使用的特殊电缆的其他特性,那么应认为它们是匹配的一对。如果两者中任何一个被替换,该系统应重新校准。
C1.2.2 如果天线和电缆已经分别进行校准并有各自的损耗等,其中任何一个被替换,仅需校准替换的部分。
C2 校准或重新校准
C2.1 电场强度
电场强度应以dB(μV/m)为单位。测量系统的电场强度关系表达式是:
F=R+AF+T …………………………(C1)
式中:F—电场强度,dB(μV/m);
R—测量仪器读数,dB(μV);
AF—天线系数(见C4或C5的定义),dB(1/m);
T—馈线系数(见C6的定义),dB。
对于用宽带峰值检波器测量,F和R的单位分别是dB(μV/m/kHz和dB(μv/kHz)。
C3 基准天线
见5.1.2.1.2。
C4 天线系数
说明天线基准点的场强与带负载的天线端电压2)之间关系的系数称为天线系数,用AF来表示,单位为dB(1/m)。天线系数应包括平衡-不平衡变换器、阻抗匹配器、任何失配损耗和在天线谐振频率之外工作等诸因素所造成的影响。
注:这个系数是频率的函数,它通常由谐振偶极子天线的制造商提供。关于谐振偶极子天线在自由空间工作的天线系数的betway必威官方网站
,用于本附录是足够准确的。更高的准确度可以通过了解在试验环境中所使用的特定的谐振偶极子天线的天线系数来获得。确定天线系数的方法在ANSI C63.5中描述(见C13)。
C5 替代天线
替换天线的天线系数即为基准天线(谐振偶极子天线)的天线系数减去替代天线相对于基准天线的增益(dB)。
C6 馈线
作为频率函数的馈线损耗系数是已知的,该系数用T来表示,即
…………………………(C2)
注:推荐的馈线是双层编织或实心屏蔽的同轴电缆,以获得合适的屏蔽。允许把馈线损耗和失配误差计入测量仪器的校准中的电缆中去。若做到这一点,就可以将T从公式C1中去除。
C7 校准设备
校准设备的主要功能是提供一个具有重复性的射频(RF)场用于替代天线与基准偶极子天线作比较。
C7.1 校准信号发生器
替代天线的比较应使用具有内置跟踪发生器的测量仪器或网络分析仪,抑或将信号发生器和测量仪器一起使用。
校准信号发生器的输出误差不超过±1.0dB。校准信号发生器应能产生一个高于测量仪器最小可测场强至少6dB的电场,最好至少高于10dB。
脉冲发生器是准确性较差的信号发生器。
注:1 如果使用宽带脉冲发生器,它应能在30 MHz~1000 MHz频率范围内产生误差±3.0 dB以内的均匀频谱。
2 经验表明:如果在脉冲发生器的输出端使用一个10 dB的阻抗匹配衰减器,具有标称电平为100 dB(μV/kHz)的脉冲发生器能在接收天线上产生一个大约10 dB(μV/m/kHz)的场强。这个场强随着校准天线的损耗和辐射特性以及反常传播而变化。提供这个近似值以便能确定天线系数,然而这样就可能要评估测量系统需要的灵敏度和允许的损耗。
C7.2 发射天线
为了便于测量和保证避免由调整天线引起的变化,推荐使用宽带天线,曲型的宽带天线是最高频率达到200MHz的的双锥天线和频率范围为200 MHz~1000 MHz的对数周期天线。
C8 替代天线系数的确定
如果使用替代天线(见C5),则天线系数应通过在预定的试验环境中用替代方法来确定。基准天线应为偶极子天线(见C3)。替代方法要测量的辐射场是由C7规定的发射天线和校准信号发生器产生的。
注:由这一方法伴随产生的误差因素包括测量仪器的非线性,周围物体对基准天线的影响以及替代天线相位中心相对于基准天线相位中心的位置变化。
C9 试验的几何条件
替代天线应置于其预定的试验位置。替换时,应使偶极子天线的基准点放置在替代天线的基准点相同位置上。
C9.1 发射天线距离替代天线基准点的水平距离为10 m,如图C1所示(代替最近的车辆边缘),高度为1m。
C9.2 对于3m的测量距离,发射天线距离替代天线的水平距离为3m,详见图C1中的注释。
C10 测量程序
所采用的程序是按C9所述布置,用基准天线测量基准场,得到测量仪的读数(通常是电压);然后用替代天线取代基准天线,测出第二个读数。
按C5所述的方法计算出替代天线的天线系数。对水平极化和垂直极化都用这种方法进行测量,从而确定两种情况下各自所需的不同天线系数。
注:两种极化方向下基准天线的天线系数可以假定是相同的。
C11 频率
确定天线系数值所需要的频率点数取决于被评定的替代天线。为充分描述这个函数,应考虑取足够多的频率点数。
C12 整个系统校验
由天线、馈线电缆、测量仪器和读出装置组成的整个测量系统应通过测量由C7所述的用宽带脉冲发生器和天线产生的脉冲电场来校验。应定期进行这种系统校验,以便可以检测出系统性能的任何变化(见图C1)。

C13 参考文献
ANSI C63.5:1988,电磁兼容——电磁干扰(EMI)控制辐射发射测量——天线的校准
________
1)本附录以CISPR报告56号为根据。
2)因为这个系数是电压比,转换为分贝时应该用那些参数比值的20 lg因子来完成。
附 录 D
(提示的附录)
影响点火噪声发射的机动车辆的结构特点1)
为了指导产品试验和认可,应该注意车辆结构上的某些差异对点火噪声发射不一定有显著的影响。因此,对一种变型车辆的测量可认为是具有代表性的,而且就影响点火噪声发射来说,这样的变型车辆也可作为评估陆路车辆设计特性的基础。
D1 下列结构的差异2)对点火噪声发射影响不大。
a)两扇门或四扇门的车辆,或者车辆全长相似的旅行汽车;
b)散热器金属护栅的结构不同,而栅格比例和安装方法大致相同;
c)挡泥板的形状或发动机罩(机罩)的轮廓;
d)不同尺寸的车轮或轮胎;
e)等效电气特性(电容、电感、电阻)相同,厂商、牌号不同的非电阻性普通火花塞;
f)等效电气特性(电容、电感、电阻)相同,厂商、牌号不同的点火线圈和分电器;
g)安装在同样位置上的装饰件、加热器或空调器;
h)等效电气特性(电容、电感、电阻)相同,热值不同的电阻性普通火花塞;
k)起动电机所必需的辅助电气装置(包括它的线路)的尺寸、形状和位置。
D2 预期下列结构差异2)对点火噪声发射可能有显著影响:
a)压缩比有显著不同;
b)挡泥板、顶蓬或车身护板是采用塑料还是金属的;
c)金属空气滤清器的大小、形状和位置,以及使用塑料空气滤清器还是使用金属空气滤清器;
d)分电器和点火线圈在发动机上或发动机室内的位置;
e)发动机室的大小、形状以及高压线束的位置;
f)车轮周围的发动机室净孔显著不同;
g)转向机构是右置还是左置,因为这可能会影响车辆其他零部件的位置;
h)装有非起动用辅助发动机的车辆。
____________
1)本附录以CISPR报告65号为根据。
2)这并不包括所有的结构差异,它仅为一组实例。
附 录 E
(提示的附录)
点火噪声抑制器插入损耗的测量1)
E1 引言
测量点火噪声抑制器插入损耗有以下两种方法。
E1.1 E3所述的箱式法(50/75Ω实验室法)
E1.2 场强比较法。
在这一方法中,抑制器(或抑制器组)的插入损耗由在开阔试验场上测量车辆或装置所引起的骚扰场强来确定。按公式(E1)计算插入损耗A:
A = E1 - E2 …………………………(E1)
式中:E1——未装抑制器时点火系统产生的场强,dB(μV/m);
E2——同一点火系统装上抑制器(或抑制器组)后所产生的场强,dB(μV/m)。
注:按第5章的规定测量场强。
E2 测量方法的比较
E2.1 箱式法
用箱式法,只能在标准的实验室条件下,比较同类的单个抑制器的特性。目前,此方法适用于30MHz~300MHz频率范围。测得的结果与实际观测到的抑制器效能之间没有显著的相关性。不允许采用这种方法来测量抑制器组。例如,由四个电阻器和五根具有分布阻尼的电缆组成的抑制器组。然而,在实际使用条件下事先已验证过的抑制器效能之后,此种方法能在它们的生产过程中提供一种快捷的监控手段。
E2.2 场强比较法
场强比较法可看作一种基准方法,因为所测得的结果,给出了实际使用中观测到的抑制器插入损耗。这种方法能自动地将影响插入损耗的各种因素都考虑进去,而且频率范围没有限制。其主要缺点是必须在开阔试验场上(或5.2.2所规定的装有吸波材料的屏蔽室里)进行测量,并且必须测量完整的车辆或装置。
E3 箱式法(点火噪声抑制器插入损耗的50/75Ω实验室测量法)
E3.1 一般条件和测量限制
点火噪声抑制器插入损耗按图E1所示的试验电路进行测量。这种方法仅作为对同类型抑制装置的一种比较法,并非想给出与发射测量的直接关系。
E3.2 测量程序
在图E1中,调节同轴开关②,以便信号发生器①的信号通过试验箱④和受试样品⑤,使测量仪器⑦的输出指示器给出一个读数。固定衰减器③有10dB的衰减损耗。
随后,转动同轴开关②,让信号通过经校准的可变衰减器⑥并调节它,使测量仪器⑦的输出指示器给出相同的读数。于是由校准的可变衰减器⑥的衰减读数减去固定衰减器③的衰减值,即得到点火噪声的抑制器的插入损耗。
E3.3 试验箱结构
常用试验箱的详图如图E2、图E3和图E4所示。对多数用途而言,该试验箱是适用的,然而对某些用途,孔的位置和箱体尺寸可能需要修改。试验箱内抑制器的布置方法如图E5~图E11所示。连接受测抑制器的所有非同轴引线应保持尽量短,或者按照图上标明的长度。在所有的布置中,火花塞要改装以接受同轴输入,并由标准火花塞组件制成,这种组装件的火花塞端子与中心电极之间直接连接。
E3.4 测量结果
对于高阻抗点火噪声抑制器,特性阻抗为Z1的电路插入损耗a1可换算为特性阻抗为Z2的电路插入损耗a2,所用公式如下。
a2=a1+20lg(Z1/Z2) …………………………(E2)



____________
3)本附录以CISPR报告37/2号为根据。
附 录 F
(提示的附录)
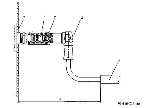
确定高压点火系统的点火噪声抑制器衰减特性的测量方法
F1 引言
本附录规定的测量方法用于评价内燃发动机点火系统高压部件中使用的点火噪声抑制器的效能。例如,抑制性高压连接器,阻尼火花塞。
频率范围为30MHz~1000MHz。
F2 点火噪声抑制器的要求
制造商和用户之间对点火噪声抑制器的要求必须达成一致意见。
F3 测量配置
测量配置如图F1和F2所示。
使用GB/T 6113.1规定的测量仪器和吸收钳进行测量。
射频测量仪器设定到准峰值测量方式。
注:1 因为点火骚扰具有宽带特性,通过使用吸收钳可使系统谐振减到最小。所以该频率范围内不需要连续扫描,可用步进(例如用对数)测量来代替。
2 峰值测量尚在考虑。
通过调节压力室中的惰性气体压力,将在点火线圈输出端被测量的峰值电压设定到10 kV,脉冲幅度应尽可能稳定,脉冲频率应为50 Hz。如果在本附录F5中没有规定其他数值,测量距离a应为150 mm。
注:3 抗高压防护——现代晶体管化点火系统的能量高到使人接触低压侧就可能在人体内产生危险的电流。因此抗高压危险的防护是很有必要的。
4 吸收钳的防护——贯通吸收钳的点火电缆的绝缘可能不满足要求。因此,应将点火电缆装入绝缘管内,再放置在吸收钳内。
为了使火花放电稳定从而使射频频谱稳定,推荐使用空气流通的气压室。
离金属部分(例如金属壁)的侧向最小距离应保持400mm。如果使用不同的金属片来构成测量配置,则不同的金属片应保证良好的电气连接。
接地片最小截面积为5 mm2,最小宽度为8mm,最大长度为1200mm。
EUT与测量设备的连接应尽可能接近实际情况。
F4 测量程序
按F5的规定安装测量火花塞。
首先,在无点火噪声抑制器的情况下测量射频骚扰功率;然后,插入点火噪声抑制器重复进行测量。
注:测量仪器输入过载保护——在记录无点火噪声抑制器情况的过程中,大约有1 kV的脉冲电压到达测量仪器的输入端,这可能会损坏测量仪器。使用有足够的电压或脉冲住阻尼的20 dB衰减器,能够避免这个过载问题。两次测量值的差即为点火噪声抑制器的插入损耗。

1—符合F5要求的测量火花塞所提供的火花间隙
2—火花塞连接件
3—EUT
4—无抑制元件和不带屏蔽的高压阻尼线
5—吸收钳
6—带电源的晶体管点火线圈系统和脉冲频率发生器(负端接地)
7—金属薄板的墙面和地面
8—桌面及其支承(非金属)
9—高压探头
10—峰值电压测量仪(例如,示波器)
11—接地片
12—F3所述的带通风的压力室
13—测量电缆
14—射频骚扰测量仪
a是测量距离(见F3)。
图F1 测量配置(侧视图)

1—符合F5要求的测量火花塞所提供的火花间隙
2—火花塞连接件
3—EUT
4—无抑制元件和不带屏蔽的高压阻尼线
5—吸收钳
6—带电源的晶体管点火线圈系统和脉冲频率发生器(负端接地)
7—金属薄板的墙面和地面
8—桌面及其支承(非金属)
9—高压探头
10—峰值电压测量仪(例如,示波器)
11—接地片
12—F3所述的带通风的压力室
13—测量电缆
14—射频骚扰测量仪
a是测量距离(见F3)。
图F2 测量配置(顶视图)

F5 无抑制元件的测量火花塞
评价点火噪声抑制器应使用测量火花塞,它是火花塞组件的部件;亦可用其他的方法(例如阻尼点火电缆)来评价。
根据ISO 1919、ISO 2344、ISO 2704和ISO 2705等有关文件规定,所有无点火噪声抑制器的火花塞均可使用。电极间隙应调到0.7 mm±0.1 mm。
F6 测量配置举例
由于抑制元件的几何尺寸是极其不同的,所以制造商和用户之间应对连接件(见图F4示例中第2个零件)达成一致意见。
F6.1 直角型火花塞点火噪声抑制器的连接

1—符合F5要求的测量火花塞所提供的火花间隙
2—火花塞连接件
3—EUT
5—吸收钳
7—金属薄板墙面
a是测量距离(见F3)。
注:连接到吸收钳的高压阻尼线应尽可能短。
F6.2 分电器转子的连接
1—符合F5要求的测量火花塞所提供的火花间隙
2—火花塞连接件
3—EUT
4—无抑制元件和不带屏蔽的高压阻尼线
5—吸收钳
7—金属薄板墙面
15—金属接地平面
16—金属薄板墙面(7),金属接地平面(15),连接配件(19)和原有轴端(18)要作射频意义上的电气连接
18—原有轴端
19—连接配件
a是测量距离(见F3)。
图F5 分电器转子测量配置侧视图

1—符合F5要求的测量火花塞所提供的火花间隙
2—火花塞连接件
3—EUT
4—无抑制元件和不带屏蔽的高压阻尼线
5—吸收钳
7—金属薄板墙面
15—金属接地平面
16—金属薄板墙面(7),金属接地平面(15),连接配件(19)和原有轴端(18)要作射频意义上的电气连接
18—原有轴端
19—连接配件
图F6 分电器转子测量配置顶视图
F6.3 带有集中式点火噪声和抑制器的分电器盖的连接
由于分电器盖的几何尺寸是极其不同的,所以制造商和用户之间应对整个测量配置达成一致意见。
F6.4 高压阻尼线的连接
F6.4.1 高压阻尼线总成
高压阻尼线总成应以它们的原有长度l来进行测量;选择测量距离a=l+120 mm。EUT和无抑制作用的高压阻尼线之间应以防接触的绝缘材料来防护,它到吸收钳的最小距离应为50 mm。

1—符合F5要求的测量火花塞所提供的火花间隙
2—火花塞连接件
3—EUT
7—金属薄板墙面
8—桌面及其支承(非金属)
17—防护绝缘物的和成品防护盖
a是测量距离(见F6.4.1),
l是高压阻尼线总成的长度。
图F7 高压阻尼线总成的测量配置测视图
F6.4.2 高压阻尼线
这些高压阻尼线应优先以0.5 m的测量距离来进行测量。
EUT的长度是从火花塞连接件(图F1示例中第2个零件)测量到点火系统(图F1示例中第6个零件)。
F7 参考文献
ISO 1919:1988 道路车辆——M14×1.25平座火花塞及其气缸盖安装孔
ISO 2344:1992 道路车辆——M14×1.25锥座火花塞及其气缸盖安装孔
ISO 2704:1993 道路车辆——M10×1平座火花塞及其气缸盖安装孔
ISO 2705:1991 道路车辆——M12×1.25平座火花塞及其气缸盖安装孔
公路桥梁预应力钢绞线用锚具、夹具和…
公路交通安全设施产品质量检验抽样方法
公路用防腐蚀粉末涂料及涂层
沥青混合料改性添加剂 第2部分:高黏…
沥青混合料改性添加剂 第6部分:温拌剂
近零碳交通设施技术要求 第3部分:港…
城市公共交通驾驶员出岗状态检测系统…
路用改性磷石膏
汽车和挂车类型的术语和定义
汽车运输危险货物规则【作废】
汽车制动系统结构、性能和试验方法
工业企业厂内运输安全规程
道路交通事故现场图形符号【作废】
摩托车和轻便摩托车尺寸和质量参数的…
汽车操纵件、指示器及信号装置的标志…
机动车辆及挂车分类【作废】